«Спорт – наше все»! Именно под таким лозунгом выходит подавляющее большинство современных мобильных устройств. Масса фитнес-браслетов, кулонов и умных устройств, готовых пробудить желание к активным занятиям спортом – все эти продукты уже стали тенденцией современного «гаджетостроения». Вслед за сопроцессором M7, контролирующим каждый шаг и движение владельца iPhone 5S, Apple готовится к выпуску «умных наушников», оснащенных биосенсорами и датчиками активности.
Патентное бюро США зарегистрировало очередное инновационное изобретение купертиновцев: «система спортивного мониторинга для наушников и гарнитур». Заявка на регистрацию была подана еще в далеком 2008 году, но, как показывает практика, между идеей и ее реализацией пролегает целая пропасть.

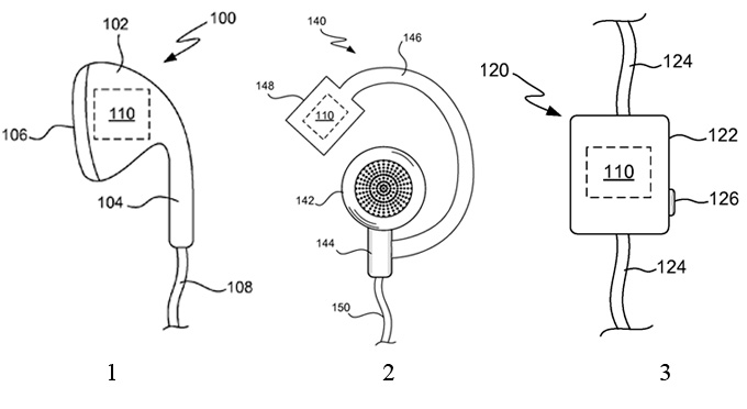
Благодаря новой запатентованной технологии владельцы «умных наушников» получают возможность управления плеером смартфона с помощью движений головы. Сенсор физической активности располагается внутри наушников (номер 110 и 186 на рисунке). Дизайн наушников, согласно представленным в патентной документации схематическим рисункам, не должен претерпеть кардинальных изменений.

Работа сенсоров начинается в момент соприкосновения с кожей. Установленные сенсоры контролируют целый ряд параметров: частоту пульса, интенсивность потовыделения, температуру тела.
Впрочем, в Apple пока не решили, где именно размещать датчик: в самих наушниках (1), в дополнительном заушном «рукаве»(2), в навигационном доке шнура (3) или сделать сенсор съемным для возможности установки в наушники любого форм-фактора.

Рассмотрен вариант и для более «серьезных» моделей с полноценными амбушюрами.

Способны «умные наушники» оповестить владельца и о чрезмерной частоте пульса или недостаточной интенсивности выполнения упражнений.
Одним словом, в связке с долгожданным iWatch, Apple смогла бы подарить поклонникам полноценный продукт для занятий спортом. Что ж, остается только надеяться на скорейшую реализацию и верить в то, что патентная документация не останется пылиться на полках.
WOLDEMAR_design создание сайтов, landing page и интернет-магазинов